項目名稱:田森匯遠程預付費系統
項目地點:山西
實施時間:
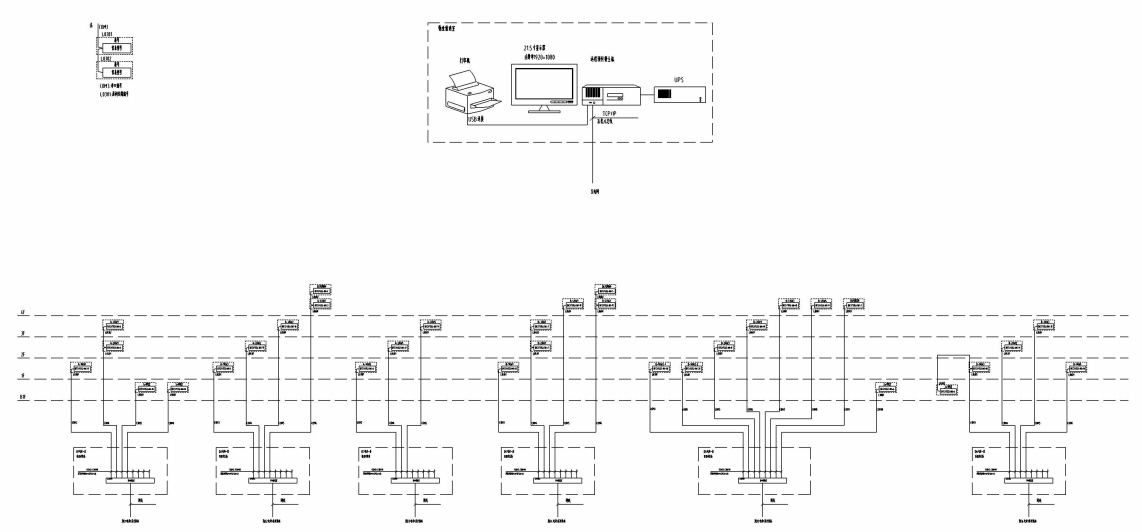
山西忻州市田森匯云河商苑項目位于山西忻州市,現場為一棟6層樓的商業中心,各層強電井內配電柜及3間配電室內已安裝我司終端預付費電能計量表計DDSY1352-NK、DTSY1352-NK。
本項目為田森匯云河商苑項目提供解決方案。本項目共有58只單相預付費電能表DDSY1352-NK,276只三相預付費電能表DTSY1352-NK,針對本棟6層的商業中心,為實現用電的智能化管理,通過安科瑞終端預付費電能計量表計來實現計量每個租戶的用電量,以保證先收費后用電。
a. 快速配置,即裝即用:將電表和通訊管理機配置導入系統就可以使用;
b. 遠程集中抄表:免去人工抄表,電表狀態實時性可精確到3分鐘以內;
c. 支持單獨計價、多費率、階梯電價:可對每塊電表單獨設置電價、費率和階梯電價;
d. 遠程售電:財務集中管理,電量實時下發,并比對充值次數防止作弊;
e. 數據安全:網絡數據傳輸采用金融級的3DES加密算法,防止數據作弊竊電;
f. 遠程控制:可對任意一塊電表執行遠程拉閘或保電等一系列遠程控制操作,方便管理;
g. 能耗分析及查詢:用戶和管理員都可查詢預付費表或各類接入的計量儀表每天的用能狀況;
